Sistem culisant cu sticlă termoizolantă pentru închideri terase
- Sistem culisant pentru închideri terase cu sticlă securizată
- Etanșare profile de aluminiu între panourile de sticlă securizată
- Culisare bidirecțională
Valedo SL-T Sistem glisant cu operare intuitivă și rapidă
Manipulare facilă
Sistemul Valedo SL-T redefinește experiența pe terasă: deschidere lină, panoramică, ce conectează interiorul cu exteriorul în mod natural. O singură mișcare și spațiul tău devine mai luminos și mai primitor, fără compromisuri la capitolul siguranță.
Protecție totală la exterior
Oferă protecție avansată împotriva ploii, vântului și prafului, menținând mobilierul și finisajele terasei în stare impecabilă, indiferent de anotimp.
Utilizare pe tot parcursul anului
Cu Valedo SL-T, terasa devine spațiu util în orice sezon. Datorită sticlei termoizolante, confortul termic este garantat chiar și în zilele reci, extinzând perioada de utilizare a terasei.
Închidere eficientă și estetică cu Valedo SL-T
Panouri de sticlă glisante
Valedo SL-T permite manevrarea sigură și ușoară, panourile de sticlă glisând silențios și parcându-se compact. Poți transforma terasa dintr-un spațiu protejat într-unul complet deschis în doar câteva secunde.
Sistemul permite glisarea panourilor în ambele direcții, adaptându-se perfect necesităților spațiului tău.
- Panouri cu glisare bidirecțională;
- Utilizează sticlă securizată de 10 mm grosime;
- Design rafinat cu eficiență crescută;
- Etanșare superioară
Lumină naturală abundentă
Panourile mari, între 800 și 1000 mm, protejează terasa fără a diminua luminozitatea sau priveliștea, chiar și când sistemul este complet închis.
Design rafinat
O soluție elegantă și funcțională pentru orice terasă: panourile glisează ușor și silențios, iar spațiul rămâne luminos,
Glisare în ambele sensuri
Valedo SL-T permite panourilor să se deplaseze în ambele direcții, oferindu-ți flexibilitate totală la deschidere și acces facil din orice parte.
Performanțe superioare: Siguranță, eficiență și vizibilitate clară
Sticlă securizată
Sistemele Valedo SL-T utilizează sticlă securizată de 10 mm grosime. Panourile sunt securizate integral, asigurând rezistență și siguranță în utilizarea zilnică.
Izolare termică
Cu un coeficient de transfer termic de 5.4 W/m²K, sistemul asigură protecție termică eficientă, pentru un confort sporit indiferent de sezon.
Izolare fonică excelentă
Pe lângă izolare termică, Valedo SL-T reduce zgomotul cu până la 32 dB, creând un ambient liniștit și relaxant pe terasă.
Distribuție optimă a greutății
Sistemul Valedo SL-T utilizează rulmenți de calitate superioară, care preiau greutatea panourilor la bază, facilitând instalarea în orice tip de spațiu.

Designul permite montajul direct pe pardoseală, fără modificări structurale sau intervenții asupra fundației terasei.

Profilele verticale dintre panouri cresc gradul de etanșare și oferă un aspect finisat, adaptabil oricărui proiect. Rezultatul: design coerent, robust și durabil.

Rolele asigură glisare silențioasă, fără frecare sau zgomot deranjant.
Creează terasa ideală inspirându-te din proiecte implementate
Sistem glisant personalizat pentru fiecare proiect

Valedo SL-T este alegerea optimă pentru închiderea spațiului dintre stâlpii terasei. Sistemul se adaptează perfect, oferind etanșare superioară și protecție împotriva intemperiilor, fără a compromite designul.

Valedo SL-T permite colțuri de 90° fără stâlp fix, cu profile de colț glisante simultan, pentru deschidere completă și vizibilitate maximă.

Ideal pentru accesul din foișor sau terasă către interior, sistemul Valedo SL-T oferă protecție și lumină naturală, menținând un spațiu deschis și aerisit.
Opțiuni de personalizare pentru integrare perfectă în arhitectura casei
Valedo SL-T: Conceput să se integreze perfect pe terasa ta

Dimensiuni spațiu vitrat disponibile:
- Lățime per panou: între 800 mm și 1165 mm
- Nr. panouri: Maxim 3 panouri glisante pe o parte sau 6 pe ambele părți
- Lățime profil intermediar: 38 mm

Dimensiuni maxime pentru sistemul Valedo SL-T:
- Lungime totală: 10 metri
- Înălțime: recomandat până la 2,7 m, maxim acceptat 3,0 m
- Nr. panouri: maxim 5 pe o parte, sau 10 pe ambele părți
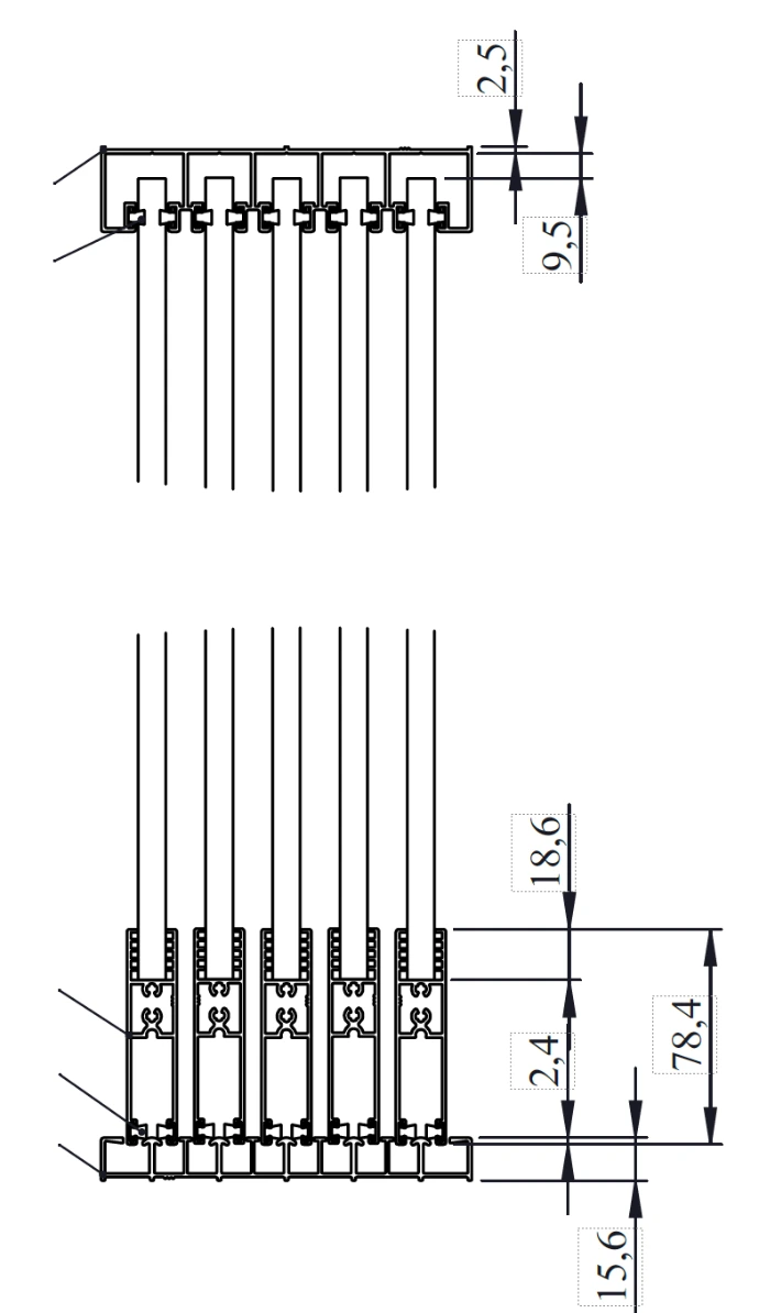
Dimensiuni profile structurale:
- Înălțime șină superioară: 28 mm
- Lățime șină superioară: 179 mm
- Înălțime șină inferioară: 16 mm
- Lățime șină inferioară: 169 mm
- Înălțime profil sticlă: 66 mm
Grosimi sticlă disponibile:
- 1 foaie de sticlă 10 mm
Calculează rapid costul proiectului tău cu Valedo SL-T
AiVa – Start inteligent pentru proiectul tău
AiVa este un instrument de estimare care te ajută să identifici sistemul Valedo potrivit și opțiunile disponibile, înainte de consultarea cu un partener autorizat. Pe baza răspunsurilor tale, vei primi recomandări personalizate și poți continua cu un specialist local pentru măsurători și ofertare.
Vezi asamblarea 3D detaliată a sistemului Valedo SL-T
Resurse și documentație completă
Pentru beneficiari finali
Tot ce ai nevoie pentru a începe proiectul.
Pentru arhitecți și parteneri Valedo
Tot ce ai nevoie pentru a începe proiectul.


